Mexen Helios radiateur électrique 800 x 500 mm, 300 W, doré - W103-0800-500-2300-50

Mexen Helios radiateur électrique 800 x 500 mm, 300 W, doré - W103-0800-500-2300-50

Mexen Helios radiateur électrique 800 x 500 mm, 300 W, doré - W103-0800-500-2300-50
search
  • Mexen Helios radiateur électrique 800 x 500 mm, 300 W, doré - W103-0800-500-2300-50
  • Mexen Helios radiateur électrique 800 x 500 mm, 300 W, doré - W103-0800-500-2300-50
  • Mexen Helios radiateur électrique 800 x 500 mm, 300 W, doré - W103-0800-500-2300-50
  • Mexen Helios radiateur électrique 800 x 500 mm, 300 W, doré - W103-0800-500-2300-50
  • Mexen Helios radiateur électrique 800 x 500 mm, 300 W, doré - W103-0800-500-2300-50
  • Mexen Helios radiateur électrique 800 x 500 mm, 300 W, doré - W103-0800-500-2300-50
  • Mexen Helios radiateur électrique 800 x 500 mm, 300 W, doré - W103-0800-500-2300-50
  • Mexen Helios radiateur électrique 800 x 500 mm, 300 W, doré - W103-0800-500-2300-50
Mexen Helios radiateur électrique 800 x 500 mm, 300 W, doré - W103-0800-500-2300-50
Mexen Helios radiateur électrique 800 x 500 mm, 300 W, doré - W103-0800-500-2300-50 Mexen Helios radiateur électrique 800 x 500 mm, 300 W, doré - W103-0800-500-2300-50 Mexen Helios radiateur électrique 800 x 500 mm, 300 W, doré - W103-0800-500-2300-50 Mexen Helios radiateur électrique 800 x 500 mm, 300 W, doré - W103-0800-500-2300-50 Mexen Helios radiateur électrique 800 x 500 mm, 300 W, doré - W103-0800-500-2300-50 Mexen Helios radiateur électrique 800 x 500 mm, 300 W, doré - W103-0800-500-2300-50 Mexen Helios radiateur électrique 800 x 500 mm, 300 W, doré - W103-0800-500-2300-50 Mexen Helios radiateur électrique 800 x 500 mm, 300 W, doré - W103-0800-500-2300-50
Puissance de chauffage : 300 W Puissance de chauffage : 300 W
Acier Acier
Thermostat Thermostat
Marque:
Série:
Ean:
5905315234155
Index:
W103-0800-500-2300-50
Hauteur:
800 mm
Couleur:
Or
Largeur:
500 mm
Puissance de chauffage:
300 W
Largeur - 500 mm - ()
Couleur - Or - ()

Mexen Helios radiateur électrique 800 x 500 mm, 300 W, doré - W103-0800-500-2300-50

Mexen Helios est un radiateur électrique doré exceptionnel qui combine un design élégant et fonctionnalité. Avec des dimensions de 800x500 mm et une puissance de 300 W, il s'adapte parfaitement aux intérieurs modernes. Grâce à ses 15 barres chauffantes et à son thermostat intégré, il assure une température optimale. L'acier solide et le revêtement de peinture durable garantissent une résistance à la corrosion. Le contrôle tactile avec affichage LED et les fonctions telles que Sensitive et Comfort augmentent le confort d'utilisation. La sécurité est assurée par IP44 et la protection contre le fonctionnement à sec. Un kit de montage complet est inclus.

Données techniques:

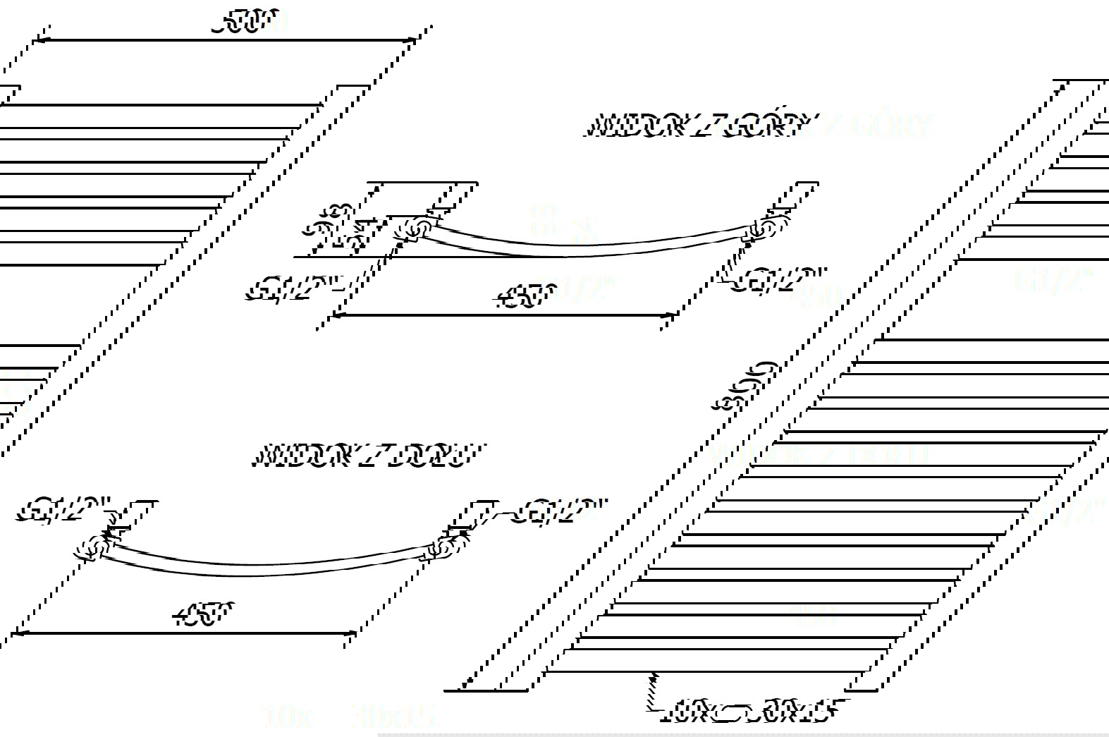
Hauteur: 800 mm

Largeur: 500 mm

Profondeur: 54 mm

Couleur: Doré

Matériau: Acier

Capacité: 3,5 l

Puissance de chauffage: 300 W

Nombre de barres chauffantes: 15

Longueur totale de la résistance: 426 mm

Longueur de l'élément chauffant: 310 mm

Longueur du câble d'alimentation: 1,5 m

Tension de fonctionnement: 230V/50 Hz

Degré de protection: IP44

Contrôle tactile avec affichage LED

Protection supplémentaire contre le fonctionnement à "sec"

Thermostat intégré qui maintient la température souhaitée du radiateur

Revêtement de peinture de haute qualité, durable et résistant à la corrosion

Le radiateur doit être rempli d'eau ou d'un mélange d'eau, par exemple avec du glycol, pour fonctionner correctement

Inclus: supports, kit de montage et bouchons d'étanchéité

Fonctions du radiateur:

- Sensitive permet de régler la température entre 40°C-65°C

- Comfort a une option de séchage qui permet de régler la température de chauffage pour une période horaire sélectionnée

- Verrouillage parental permet de verrouiller le contrôleur de la résistance

Solutions innovantes utilisées dans ce produit

Puissance de chauffage : 300 W

Lors du choix d'un radiateur électrique d'une puissance de 300 W, il est important de l'adapter correctement au rendement du radiateur pour que le chauffage de la pièce soit efficace, ergonomique et sûr.

Acier

Le produit est fabriqué en acier doux de haute qualité, qui non seulement influence la longévité de l'appareil et sa résistance à la corrosion, mais permet également de chauffer rapidement la pièce et assure le confort thermique des utilisateurs.

Thermostat

Le thermostat remplit une fonction très importante, car il permet de maintenir une température constante et souhaitée dans la pièce. Grâce au thermostat, le radiateur s'allume et s'éteint automatiquement pour maintenir la température définie, ce qui garantit le confort thermique et permet des économies d'énergie.

Sensible

L'option Sensible offre la possibilité d'un réglage précis de la température. Ce système permet à l'utilisateur d'adapter la température à ses besoins et préférences individuels, offrant ainsi plus de flexibilité et de confort d'utilisation.

Confort

L'option Confort est une fonctionnalité qui permet de régler la température de chauffage selon une plage horaire choisie, ce qui peut être particulièrement utile dans des situations où il est nécessaire de sécher des objets, par exemple des serviettes ou des locaux.

Blocage parental

La curiosité innée des enfants nécessite un contrôle même dans la salle de bain. C'est pourquoi si nous avons des enfants et envisageons d'acheter un radiateur électrique, il est conseillé d'en choisir un qui permet de verrouiller le contrôleur, donc de changer les paramètres pendant le fonctionnement.

Protection à sec

La résistance dispose d'une protection supplémentaire contre le fonctionnement "à sec". Un démarrage incorrect avant le remplissage du système de chauffage central avec de l'eau entraînera son endommagement, même si nous voulons seulement vérifier si elle fonctionne correctement.

Confort thermique toute l'année

C'est une excellente solution, surtout pendant les périodes de transition, comme le printemps et l'automne. D'une part, il ne fait pas assez froid pour chauffer tout l'appartement, et d'autre part, nous aimerions chauffer un peu certaines pièces.

Connexion 230V

Un radiateur électrique à brancher directement sur une prise 230V est une solution très pratique, permettant une utilisation rapide et facile sans avoir besoin de câbles supplémentaires ou d'appareils spéciaux.

Niveau de protection: IP44

Le boîtier du thermostat est fabriqué selon la classe d'étanchéité IP44, qui détermine la résistance à la pénétration de l'humidité à l'intérieur de l'appareil, ce qui se traduit non seulement par la sécurité mais aussi par la durabilité des composants.

Câble spiralé de 1,5 mètre

Un câble long de 1,5 mètre en forme spirale est une solution pratique qui combine fonctionnalité et esthétique. C'est pourquoi ce produit est la solution idéale pour les pièces où chaque détail et ordre sont importants.

Résistance à l'opacification et à la corrosion

Produit fabriqué à partir de matériaux de haute qualité résistants à l'opacification et à la corrosion, ce qui lui permet de conserver son aspect attrayant et sa fonctionnalité pendant longtemps, indépendamment du niveau d'humidité dans la pièce.

10 ans de garantie

Le radiateur est couvert par une garantie de 10 ans. En cas de problème avec le produit acheté, nous vous encourageons à nous contacter via le formulaire de contact ou par téléphone à notre numéro de hotline.

2 ans de garantie

L'élément chauffant électrique bénéficie d'une garantie de 2 ans. En cas de problèmes avec le produit acheté, nous vous encourageons à nous contacter via le formulaire de contact ou par téléphone au numéro de la hotline.

Série
Largeur
500 mm
Hauteur
800 mm
Type
Électrique
Puissance de chauffage
300 W
Couleur
Or
Matériau
Acier
Montage
Solidité du montage
Universelle
Profondeur
54 mm
Orientation
Verticale
Conditions de garantie - radiateur
Conditions de garantie - résistance électrique
Fabricant

Vous n'avez pas trouvé la réponse?

Écrivez-nous

Mexen Helios radiateur électrique 800 x 500 mm, 300 W, doré - W103-0800-500-2300-50

Mexen Helios radiateur électrique 800 x 500 mm, 300 W, doré - W103-0800-500-2300-50

Prix catalogue : 317,70 €

254,19 € (TTC)

Moins cher 63,51 €

19,99%

Prix ​​le plus bas des 30 derniers jours: 254,19 €

Puissance de chauffage : 300 W Puissance de chauffage : 300 W
Acier Acier
Thermostat Thermostat
Marque:
Série:
Ean:
5905315234155
Index:
W103-0800-500-2300-50
Hauteur:
800 mm
Couleur:
Or
Largeur:
500 mm
Puissance de chauffage:
300 W
Largeur - 500 mm - ()
Couleur - Or - ()
Chargement...